有外媒报道称苹果正在加速测试折叠屏iPhone,其屏幕仍将由三星提供面板,转轴则将由新日兴等台厂供应。
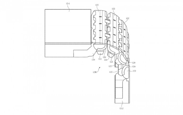
而在12月3日公布的一项名为 “具有可折叠扩展显示屏的电子设备 ”的专利申请中,苹果对相关的铰链结构进行了更详细的描述。
该专利详细描述了一个以直角弯曲的可折叠装置,并且采用了一种新的多连杆铰链结构,该结构有多个链接点,包括齿轮齿、皮带和/或其他运动同步结构,还包括在弯曲过程中相对移动的构件。这些链接可以围绕位于显示屏内的枢轴点旋转,而没有实际的铰链结构放置在显示屏内部。
此前,有消息称,苹果正在打造一款相当完美的可折叠iPhone。该机不但去除了刘海,同时屏幕也够大
不久前,报道称苹果已将可折叠iPhone样品送至富士康进行测试的,也包括其他供应商,而按照苹果的要求,富士康要对折叠屏iPhone要进行超过10万次的折叠测试。
报道称,该机将内置8GB内存,并且存储高达1TB。预计,该机最快将于2022年发布,售价1499美元起,折合人民币超万元。


2020-12-04 09:35:13