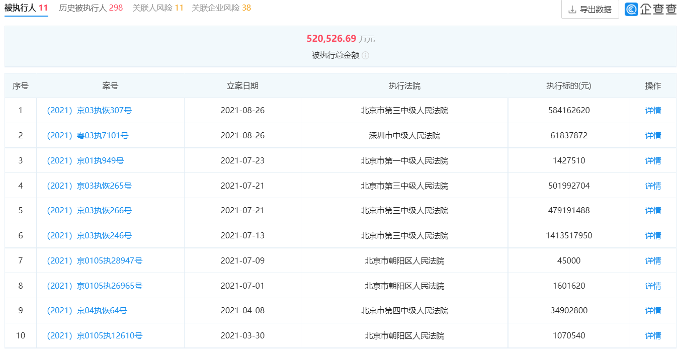
6 日消息 乐视控股近日再次成为被执行人,距离上一次过了一个月,执行标的超 6100 万元。
企查查 App 显示,近日,乐视控股(北京)有限公司再成被执行人,执行标的 61837872 元,案号 (2021) 粤 03 执 7101 号,执行法院为深圳市中级人民法院。关联案件为上海浦东发展银行股份有限公司深圳分行与乐视控股(北京)有限公司相关合同纠纷。
同日,乐视控股(北京)有限公司被恢复执行 584162620 元,被执行总金额已超 52 亿元。

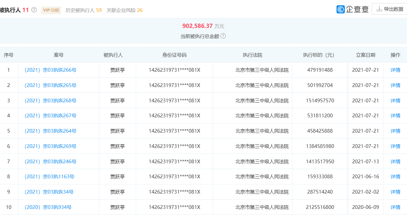
乐视控股(北京)有限公司的实际控制人为贾跃亭,贾跃亭目前被执行总金额已超 90 亿元。


2021-09-06 17:39:17