
新浪科技独家获悉,两个月前刚刚完成 F 轮融资的 Keep 近日将冲刺 IPO,最快 2021 年第二季度申请赴美上市。对此 Keep 公关人员表示,“目前暂时还没有收到上市消息”。
内部人士透露,目前 Keep 已经任命 CFO,并在多个渠道招聘投资者关系总监。
该人士还透露,Keep 创始人兼 CEO 王宁等管理层希望 Keep 最早在 2021 年上市,最晚在 2022 年上市,“2019 年底遭遇资金链危机后,Keep 一方面寻求融资,一方面进行裁员和业务调整,砍掉了无法带来收入的 AI 等部门。同时曾督促内部员工拉新,提高 DAU、MAU 数据,在内部被视为为上市做准备”。
上市之急迫:希望最快今年最晚明年
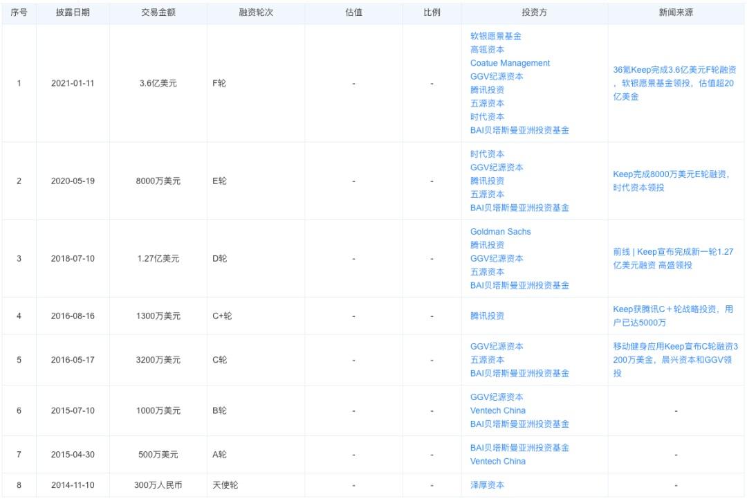
Keep 曾在两个月前刚刚宣布完成 3.6 亿美元的 F 轮融资,投后估值较上一轮融资的估值翻倍,达到 20 亿美元。Keep 自上线至今近 6 年时间里,已累计进行 8 轮融资,在 8 轮融资中共获得 6 亿美元。

▲ 图:Keep 融资轮次
该人士透露,此次 Keep 有至少三处变动:第一,Keep 已认命 CFO,且入职有一段时间,暂时还未对外公开;第二,Keep 此前的财务总监已经离职,离职原因是 “王宁认为财务总监需要对 2019 年现金流紧张的问题负有责任,当时 Keep 曾出现现金流紧张,当年 10 月在程序员节裁员 300 人”。第三,Keep 正在通过多种途径招聘投资者关系总监,将对投融资以及股东关系负责。
对于 Keep CFO 已经到岗的传闻,Keep 人力资源总监对新浪科技表示,“一切以官方公开消息为准,暂时不方便透露。”对于其他问题,对方尚未作出回应。
“一直在融资,从未上市,盈利模式上一直在尝试,我们也比较迷茫”,一名 Keep 跑团运营团队的员工对新浪科技表达他的焦虑,他表示公司在商业化上的不断尝试,让员工担心某个业务突然不做了,自己就是被 “优化”的那个组。
截至目前,据 Keep 官方宣布的数据,截至 2021 年 3 月累积 3 亿用户,600 万 DAU(日活跃用户数量),4000 万 MAU(月活跃用户数量)。
商业化之焦虑:从全线进军到多点溃败
流量变现是诸多互联网产品的最终模式,也是的 Keep 多年来兜兜转转难以跨越的山峰。
Keep 自 2019 年开始尝试多线布局商业化,如今看来,这条路走的不算顺利。在多元化发展路径下,2019 年至 2020 年间,Keep 的营收途径从原有的付费视频和 App 会员拓展到五个维度:硬件收入、商城收入、Keepland 运动空间收入、线上收入和轻食收入,试图覆盖用户的 “吃、穿、用、练”四个场景。
Keep 舍弃了用户体验至上的优先级,推翻了此前 “没必要过度推进电商与广告破坏用户关系”的价值观,迅速在首页推出在线商城、社交、Keepland 等入口——两年时间的尝试下,Keep 的多线布局正在遭遇 “滑铁卢”。

▲ 图:Keepland 撤店通知
首先是线下体验店 Keepland 关店:2018 年底,Keepland 第一家店在大望路华贸中心低调试营业,曾经一课难求。仅仅一年之后,Keepland 关闭了北京的一家门店,又在 2020 年关闭了上海的三家门店,分别是静安大悦城店、长风大悦城店和金桥店。至此,Keepland 上海的所有门店关闭,仅剩北京的 9 门店。
其次,Keep 也曾寄希望于健身餐饮,毕竟疫情期间大部分人宅家做饭,简单烹饪的轻食和健身饮品有广阔的空间。然而,2020 年 8 月,消费者在 Keep 魔芋酸辣粉中吃出黑色肉虫,Keep 食品信誉度大打折扣。紧接着,2020 年 11 月,Keep 一款高纤蛋白奶昔里部分维生素等均被测出低于标准值。
截至目前,Keep 首页中轻食业务中部分服务已经悄悄 “下架”,Keep 天猫旗舰店也再无饮食类产品。
更重要的是,Keep 的运动装备领域也出现了问题,其运动品因为质量问题被监管部门曝光。2020 年 6 月,江苏消保委通报,Keep 商城销售的多项产品如文胸、跑步袜等使用说明不符合标准。
“Keep 现在的困局是,需要耐着性子找到适合自己的盈利模式,而不是横冲直撞”,某投资机构高管 Harry 对新浪科技表示,“自律的人都用 Keep,但是赚不到这些所谓自律人的钱,这对于 Keep 来说很致命。”
“Keep 选择走了流量这条路,现在回头来看流量变现很难”,对于 Keep 近两年来在商业模式上的不断试错,Harry 表示,“横向对比健身行业的其他巨头,Keep 正走出截然不同的路。某竞品成立起就是做线下连锁体系,对于某竞品来说就是努力做好服务拉升复购率,直接、赚钱、简单。而 Keep 在 2018 年底才开始尝试线下模式,不客气的说,有学习某竞品之嫌。”
“Keep 需要解决如何把流量变成收入的问题。”北京京商战略研究院院长赖阳此前对媒体表示,“Keep 扩展了很多盈利的方式,但是最终能否让消费者自愿买单?这是需要解决的。”
截至目前,对于 Keep 来说,智能动感单车、跑步机等消费品业务变成接下来商业化的终点,由线上、轻食、商城、Keepland 和硬件打造的 “吃、穿、用、练”商业场景已经成为过去时。
发展之舍得:要口碑还是要生存?
流量曾经是 Keep 的王牌,但在不停的商业化尝试下,Keep 用户也 “经不起折腾”。
QuestMobile 数据显示,2015 年到 2019 年,Keep 的活跃用户数据在上升,但是用户使用时长呈下跌趋势。2017 年中旬,其用户使用时长曾达到顶峰,但此后的两年,都没能重回这一数值,反而还曾在 2019 年跌回 2016 年的水准。
图:Keep 用户使用时长 (数据来源 QuestMobile)
另一份数据表明,2020 年 3 月,Keep 曾有高达 850 万的活跃用户,但疫情过后,Keep 的用户数据表现却 “水落石出”。时隔数月,从产品数据分析用户留存,暴涨的那群人并没有很好的被留存住。
随着业务的推广和商业诉求的增加,Keep 线上 App 也越做越重。
如今打开 Keep 的页面已经不如过去简洁,打开 “探索”发现页,充斥着 “开学大促”、硬件、Keepland,每一个类目再点击,依次展开更加层层叠叠的子类目。
“一次次更新以后,想要找到我需要的运动越来越难了,每次都需要点点点点点,不是很熟悉还真找不到。”一位 Keep 的老用户琳琳表示,“已经有‘探索’这样商城了,麻烦‘运动’和‘计划’里就不要再有广告了。每次开始运动、深呼吸,然后突然播放广告,感觉自己白深呼吸了半天。”

▲ 图:Keep 的最新 App 首页和用户评价
有评价认为,激进的商业化升级无可避免地得罪了用户,理不顺的商业模式导致 Keep 不会停止新的尝试,而尝试意味着失去用户,Keep 陷入迷宫中的死循环,即便是想让 DAU 保留在原有数据都需要拼尽全力。
结语
长久以来,不急于盈利的 Keep 一直被诟病 “没有商业模式”,但被 O2O、共享单车等风口教育过的资本市场早已过了”只看规模不看收益 “的草莽时期。
目前来看,Keep 有用户、有流量,但良性的商业模式循环尚未跑通,这对一家自我造血能力并不强的公司来说意味着生存考验。
如今的 Keep 有些进退两难:进,不断的商业化尝试折损积攒的用户;退,放弃商业化将失去资本市场的青睐。在 “用户体验”和 “生存”之间,王宁逐渐向后者倾斜。
舍得之间,Keep 也逃不过谋求发展的宿命。

2021-03-04 11:08:41