原标题:百度申请注册“度厂”商标
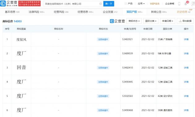
【6cu.com】2月5日消息,企查查APP显示,百度在线网络技术(北京)有限公司于2月2日申请注册“度厂”商标,涉国际分类科学仪器、运输工具、通讯服务等。商标状态为“注册申请中”。

【6cu.com】2月5日消息,企查查APP显示,百度在线网络技术(北京)有限公司于2月2日申请注册“度厂”商标,涉国际分类科学仪器、运输工具、通讯服务等。商标状态为“注册申请中”。
