【6cu.com】1月18日消息,有网友搜索发现目前华为商城、APP端口已全面下架荣耀系列产品,包含手机、平板、路由器、智能穿戴等。

华为和荣耀的“离婚”切割更进一步。
因为受到美国制裁,华为手机业务受影响较大。去年11月,华为剥离荣耀将其出售,不再持有新荣耀公司的任何股份,以换取新荣耀公司不再受到美国制裁华为条约的限制。
11月17日,由深圳市智慧城市科技发展集团与 30 余家荣耀代理商、经销商共同投资设立的深圳市智信新信息技术有限公司与华为投资控股有限公司签署收购协议,完成对荣耀品牌相关业务资产的全面收购。

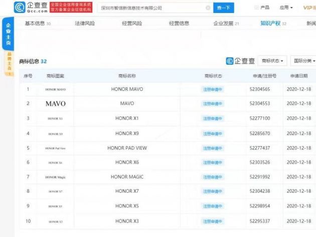
企查查APP显示,荣耀终端有限公司目前所属企业族群为智信新,公司唯一股东为深圳市智信新信息技术有限公司,2020年12月18日该公司陆续注册荣耀产品商标。

去年11月25日,任正非在荣耀送别会上的讲话中详细介绍了为什么要剥离荣耀,“剥离后的荣耀在智信公司的领导下迅速恢复生产,解决上、下游合作伙伴的困难”;任正非也强调荣耀和华为一旦“离婚”就不要再藕断丝连,理智地处理分开,严格按照合规管理,严格遵守国际规则,不能缠缠绵绵,划不清界限。“相处时难别亦难,秋风送寒杏叶黄,你们走好。”
现在,华为商城甚至连荣耀产品都下架了,可谓完全划清界限。对于新荣耀而言,新征程已经开启。
附:
任总在荣耀送别会上的讲话
2020年11月25日
我们将分别,曾经相处的十数年,心中有依依不舍的难受与兴奋。我们处在一个伟大的时代,也处在一个最艰难的时期,我们本来是一棵小草,这两年的狂风暴雨没有把我们打垮,艰难困苦的锻炼,过几年也许会使我们变成一棵小铁树。铁树终会开花的。你们要走了,没有什么送你们的,除了秋风送寒吹落的一地黄叶。
一、为什么要剥离荣耀
华为在美国的一波又一波严厉的制裁下,使我们终于明白,美国某些政客不是为了纠正我们,而是要打死我们。华为短期的困难,我们有能力克服。我们不因自己受难,而要拖无辜的人下水。但分布在170个国家的代理商、分销商,因渠道没有水而干枯,会导致几百万人失业;供应商也因为我们不能采购,而货物积压,销售下滑,拖累股市。他们有什么错,我们为什么不能承担一些牺牲,你们就是去与他们同甘共苦的,使干枯的渠道在水源未断时,补充满流水。但你们不是救世主,要摆正对客户宗教般虔诚的心态,忠实地去维护客户利益,真诚地尊重对供应商的承诺。契约精神是你们立于不败的基础。荣耀是生产中、低端产品的,剥离后的荣耀在智信公司的领导下迅速恢复生产,解决上、下游合作伙伴的困难。
我们曾经十数年的相处,我们近似严苛的管理,将你们一批天真浪漫年青的小知识分子改造成能艰苦奋斗的“战士”,过去我们有些方法过于生冷,对不起了。今天要送别你们,同样是一样的依依不舍。正当秋风起,杏叶一地黄,出门]也许是更冷的寒风,我们再不能为你们遮风挡雨了,一路走好,多多保重。
二、如何做好这件事
首先尽快地恢复渠道的供应,渠道干久了,小草枯了,就难恢复生命了。水、水、水,傣族为什么喊这句口号,说明渠道的水是救命的水。
全力拥抱全球化产业资源,尽快地建立与供应商的关系,供应是+分复杂而又千头万绪的问题,你们难度比任何一一个新公司都大。如何克服困难,就是摆在你们这些英雄豪杰们面前的事情。
坚持向一切先进的学习,包括向自己不喜欢的人学习。坚定不移地拥抱全球化,加强拥抱英、美、欧、日、台、韩的企业;美国是世界科技强国,它的许多公司很优秀,你们要坚定大胆与他们合作;同时也要与国内合作伙伴合作,与他们一同成长。
你们要保持已经形成的优良传统,干部、专家要全球化、专业化、多元化;除了职员本地化外,要慎重地分权,以免你们不能全球一盘棋,使诸侯林立,拥兵自重,令不能行。合理的淘汰机制,是激活整个队伍正向激励的补充,既要尊重人,又要考核科学,又要坚持责任结果导向,脱离大队伍后独立运营,会有难处的地方,慎重又坚决,又不能迁就。
坚持奋斗的目标与方向,坚持有所为、有所不为,坚持创新不动摇,决不允许队伍熵增。
三、做华为全球最强的竞争对手,超越华为,甚至可以喊打倒华为,成为你们一个自我激励的口号。
坚持改进自己,在方向大致正确的路上努力前进;坚持使组织充满活力,员工具有坚强的意志与对胜利的渴望。坚决反对内部的腐败,反对一切贪污、盗窃的行为。
坚持过去有益的习惯与制度,流程科学全面的管好队伍,沉着镇定地前进。挫折会有的,不要惊慌失措。多发挥集体思维的力量,要大胆决策,又不要独断专行。团结一致向前进。
今天是我们的“离婚”典礼,我就不多说了。一旦“离婚”就不要再藕断丝连,我们是成年人了,理智地处理分开,严格按照合规管理,严格遵守国际规则,各自实现各自的奋斗目标。不能像小青年一样,婚姻恋爱,一会热一会冷,缠缠绵绵,划不清界限。也不要心疼华为,去想你们的未来吧!未来我们是竞争对手,你们可以拿着“洋枪”、“洋炮”,我们拿着新的“汉阳造”,新的“大刀、长矛”,谁胜谁负还不一定呢?我们对你们不会客气的,你们有人在竞争中骂打倒华为,他是英雄好汉,千万不要为难他们。
相处时难别亦难,秋风送寒杏叶黄,你们走好。

2021-03-06 12:26:13