【6cu.com】4月29日消息,好未来发布其截至2020年2月29日的2020财年第四季度和全年未经审计财务报告。在该报告中披露了一起好未来的投资协议:“公司最近达成一笔1040万美元的投资协议,以换取一家在线1v1英语培训机构的控股权益。”
对于报告中提及的在线1v1英语培训机构,业内人士普遍认为极大可能为曾经名噪一时的“DaDa英语”。
好未来在财务报告称,该英语培训机构陷入困境,具有重大递延收入负债,且在上述交易完成前,好未来拥有被投资单位的少数股权。
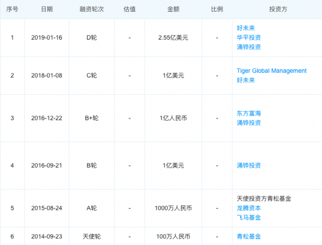
事实上,好未来此前曾多次投资DaDa英语。在DaDa英语的C轮1亿美元和D轮2.55亿美元融资中,好未来都是主要投资方。且投资圈也早有好未来收购DaDa英语的声音传出。

图片信息均来自企查查
根据企查查数据显示,DaDa英语大股东为欣欣相融教育科技(北京)有限公司,其持股31%。而好未来创始人兼CEO张邦鑫持有欣欣相融教育科技(北京)有限公司75.5%的股权。


图片信息均来自企查查
DaDa英语成立于2013年,总部位于上海,为4-16岁少儿提供专属外教1对1在线英语教学。
根据公开披露的数据,DaDa英语在2018年已拥有700万注册用户和数十万付费用户,2019年DaDa的确认收入在6至7亿元人民币之间。
除了DaDa英语,目前聚焦青少在线1v1英语培训赛道头部企业还有:一直表现突出的VIPKID、已经在美上市的 51Talk、刚刚品牌升级为“平安好学”的vipJr。
VIPKID在2019年末宣布获得腾讯领投的1.5亿美元E轮融资,其大班课业务大米网校也在今年初获得腾讯、红杉中国等领投A轮8000万美元,这些融资为公司补充了弹药;
51Talk在2019年第四季度迎来了上市以来的首次盈利;
vipJr去年卖身中国平安,现已整合进入平安智慧教育版图,有了大树可依,vipJr升级“平安好学”后要做“K12一站式全科学习平台”,而不再只是局限于英语赛道。
被VIPKID和51Talk夹击的DaDa英语,被好未来收购或许是最好的结局。
好未来旗下拥有励步英语品牌,其专注3-8岁孩子英语能力培养,提供的是线下互动小班课+线上同步练习模式的服务。DaDa英语的在线1v1模式无疑是一个很好的模式补充。
目前,对于大众猜测的控股的在线1v1英语培训机构就是DaDa英语一说,好未来方面表示不予置评,一切以公告为准。
不管如何,随着好未来的加入,英语在线1v1的竞争将更激烈,再洗牌必将加速。

2021-03-12 21:10:04