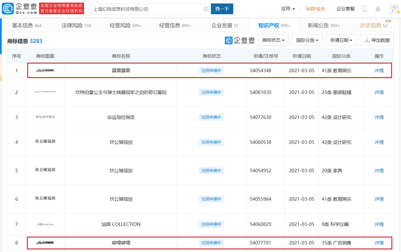
12日消息 企查查 App 显示,近日,B 站关联企业上海幻电信息科技有限公司申请注册 “霹雳霹雳”、“噼哩噼哩”商标,国际分类涉及广告销售、科学仪器、教育娱乐等,申请日期为 2021 年 3 月,目前商标状态为 “商标申请中”。



2019 年时,AcFun 子公司注册了 “哔哩哔哩”成人用品商标,B 站将其告到法院,但被驳回。看来现在 B 站长了心眼,不仅要维护好自己的品牌,也要防止被别的公司模仿。
这样注册类似商标的操作,其实很多公司都在用。比如阿里巴巴就一口气注册了阿里叔叔、阿里伯伯、阿里爷爷、阿里哥哥等商标。

2021-03-12 22:33:15