值得一提的是,在一项电池正负极的专利中苹果特意提及该专利是苹果联合美国能源部研发的,因此美国政府享有一定专利权。
第一项:苹果认为可以使用针对平均电压和能量密度改善的涂层来增强电池性能。苹果和美国能源部开发出了一种表面涂层和锂离子阴极材料的组合,与传统的氧化铝涂层相比,它们可以显示出改善的平均电压和循环保持率。
苹果表示,使用这种含有镧和钛的锂离子氧化物(LLTO)或含有镧和锗的锂离子氧化物(LLGO)作为基于锂取代钴氧化物的阴极材料的锂离子传导涂层可以提供比常规氧化铝涂层更高的平均电压和更高的能量保持率(电池健康水平)。
苹果认为该专利可以应用于 iPhone、iPad、iPod、Apple Watch、显示器、Apple TV 以及 Mac 和配件等。
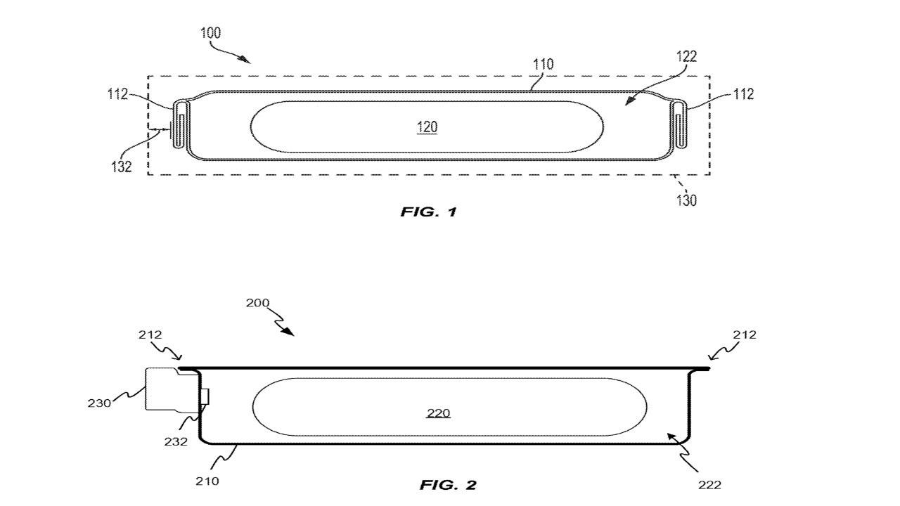
第二项:小型金属电池外壳。该专利描述了一种用于定位在内部组件周围的电池系统,这个新系统将允许在机身中使用更大的电池,而不会损坏组件。

由于电池外部的金属或机身中可能存在电荷,因此现在的电池设计必须将电池与其余组件在物理层面隔开,而这则会导致一定程度上的空间浪费,从而限制无法使用更大的电池。
第三项专利描述了多种解决方案来检测和缓解电池鼓包。无论汽车还是智能手机,为确保安全都需要确定电池是否存在鼓包。

据悉,一旦该系统检测到电池鼓包,传感器将发现问题(例如声共振、光干扰、物理接触或压力)并由系统决定如何减缓或防止进一步膨胀,之后可以通过合理调整电池的充电或放电来实现优化。

2021-03-14 22:27:20