1、云锁和宝塔面板中显示的端口咋不一样?增加和删除端口是不是以宝塔面板为主?那位老师帮助回复一下


过来学习一下这方面的知识
老铁小编回答:装一个就行了,你装那么多干嘛
老铁小编回答:这个不是很清楚
老铁小编回答:1、云锁的默认端口是5555,貌似大家都这个端口,可能也会默认攻击这个端口;?
2、要改端口在云锁安装目录里更改,这个看自己需求是否需要调整;?
3、网上也有宝塔面板将云锁默认端口添加到防火墙的方法。

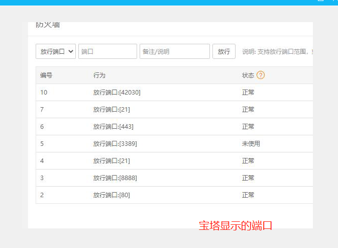
在面板左侧菜单点击安全,进入系统安全面板就可以看到防火墙。按照提示,在端口输入框填入5555,在备注说明中填入云锁。然后点击放行。
老铁小编回答:没用宝塔不清楚
老铁小编回答:不是很清楚的这个
老铁小编回答:这个不是很清楚
上一篇:我的网站啥时候能破万啊!

2021-04-02 08:58:11