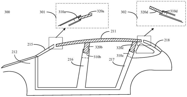
1 日消息 华为在近日公开了“车顶调节系统、车体、车辆、车顶的调节方法及装置”专利,公开号为 CN113043819A。
企查查专利摘要显示,本申请可以应用在智能汽车上,与高级驾驶辅助系统 (Advanced Driving Assistant System,ADAS)/高级驾驶系统 (Advanced Driving System,ADS) 结合。
该专利可使得车辆适用于更多的场景,提高用户体验,当车迎面积减小时,有利于降低车辆行驶过程中的风阻,当迎面积增大时,有利于增大车舱空间。


华为还在不久前公开了汽车充电装置的相关专利、自动驾驶相关专利等,华为目前正逐步加强在汽车以及自动驾驶等方面的技术积累。

2021-07-01 15:27:04