尽管从目前的情况来看,机器人尚未在零售和物流市场占据主导地位,但相关企业巨头仍选择押注于这一具有巨大市场前景的技术,以精简其供应链并增强其交付能力。而在这一方面,最能体现巨头们为之做出努力的便是其在该领域专利的申请。
本文将对不同企业申请的专利进行详解,并进一步探讨采用这些技术后,对应用场景带来的影响。
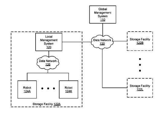
押注机器人技术,不同企业专利申请各有千秋
沃尔玛:专注于自主交付的基础设施与配送中心自动化
CB Insights 的数据显示,到 2027 年单是美国的电子商务市场就有望达到 1 万亿美元,目前估值是 6610 亿美元。瞄准这一市场,沃尔玛正在加速推进其交付及流程自动化。
据悉,自 2016 年以来,沃尔玛已经申请了超过 65 项与无人机和地面机器人相关的专利,其中 53 项涉及无人机系统,旨在提高无人机的可靠性并确保其安全性。
图 | 2014 年 1 月 1 日 - 2019 年 6 月 24 日沃尔玛在机器人和无人机方面的专利申请 (来源:CBInsights)
自主“交付链”
例如,2018 年 12 月,沃尔玛申请了一项专利,以开发无人机的“交付链”。在交付链中,每架无人机都可以与一个集中节点通信,来接收交付信息并识别该商品应传递给哪一个无人机。
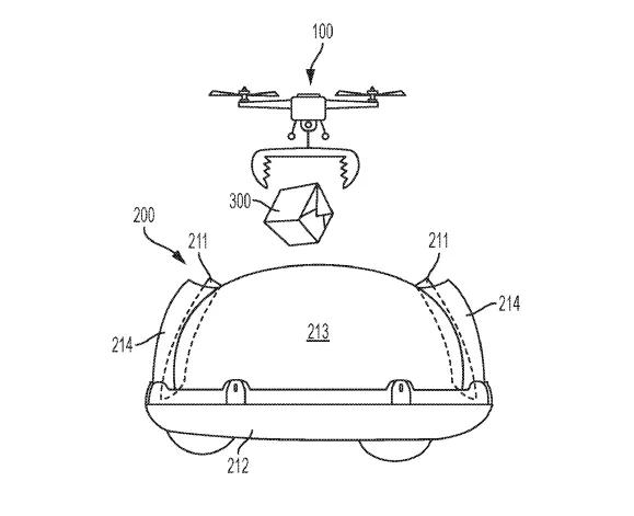
空陆传输系统
同样是在 2018 年,该公司为无人机和地面自动导引车(AGV)之间的交接系统申请了专利。该专利可以将无人机运输的商品转移到自动引导车上,以增加包裹递送的方式。
紧急着陆系统
无人机系统在使用过程中面临的最大的挑战是安全问题。对此,2019 年 1 月,沃尔玛申请了紧急着陆系统的专利,该系统中的无人机将配备传感器以确定飞行期间潜在的可紧急着陆的位置。更重要的是,在紧急着陆的过程中,系统还可以发送警报信号及其所在位置。
自主机器人系统,及时补充库存
除了关注最后一英里的交付问题,利用机器人技术实现配送中心的自动化也是沃尔玛的一大目标。2018 年 9 月,该公司获得了一项自主机器人系统专利,可以在某一处基础设施中检测少量的特定产品,如存在缺货问题,可从另一处设施获得该产品来补充库存。
亚马逊:专注于移动物品的机器人和多项无人机相关专利
作为沃尔玛在电商领域强有力的竞争对手,亚马逊于 2012 年收购了机器人初创公司 Kiva Systems ,此后,也在一步步采取行动,通过部署计算机视觉、深度感应、物体识别以及其他 AI 软件等机器人技术来实现其供应链自动化。
CB Insights 的数据显示,自 2014 年以来,亚马逊已经申请了 180 余个与机器人和无人机相关的专利,主要围绕自主移动机器人与无人机展开。
图 | 2014 年 1 月 1 日 - 2019 年 6 月 24 日亚马逊在机器人和无人机方面的专利申请 (来源:CBInsights)
机器人可实现的物品操作
该专利提供的是一项可用于让机器人实现物品操作的技术。通过使用机器视觉的规则来分析一个或多个物品来完成目标识别。另外,如果确定机器人无法完成当前操作,可以发送信号请求人类协助。
用于移动物品的移动机器人组
另外一项亚马逊申请的关于机器人的专利是移动机器人组,这是一项可提高仓库系统效率和灵活性的技术,专门用于移动“超大,超重或者形状独特的物品”。具体来说,是多个机器人配合完成一项工作。比如,第一任务的指令可以发送个给第一个机器人,然后基于该机器人的工作进度以及与第一任务的依存关系,将第二任务的指令发送给第二个机器人。当相应的机器人执行任务时,第一任务和第二任务可能导致移动机器人组对物品进行增量移动。
无人机运输系统专利
2019 年 5 月,亚马逊获得了一项无人机运输系统专利,可帮助将客户订购的物品运送到指定的目的地,换句话说,就是可以用于解决最后一英里的配送问题。需要注意的是,该无人机不通过自身的力量返回到物品搬运处,它的行程设定是一种单向路线,完成配送后会留在目的地,随后由检索单元(如卡车)来完成检索。
除上述的专利外,亚马逊还申请了诸多其他无人机方面的专利,包括无人机位置过滤器、机载无人机充电、交付无人机下降、按需指定交货地点、定位飞行器传感器、自动加载系统等等。总的来说,亚马逊在对其供应链进行的巨大投资可能会对其他电子商务市场的玩家构成竞争威胁。
京东:专利数量少,皆与机器人有关
比起沃尔玛和亚马逊,中国的电商市场领导者京东在专利方面从数量上说与它们相差甚远。从2014 年到 2019 年,在无人机和机器人方面的专利数量为 4 个,下面我们将对其中两个进行详细说明。
图 | 2014 年 1 月 1 日 - 2019 年 6 月 24 日京东在机器人和无人机方面的专利申请 (来源:CB Insights)
分类机器人
首先是分类机器人,由京东在 2018 年 3 月提交申请,2019 年 12 月获得批准。分类机器人,顾名思义,是一种用于物品分类的机器人技术,主要涉及在物流,特别是仓储领域的应用。对这个机器人来说,它至少有一层托盘,以及设在托盘轴向中心处的轴; 同时这个托盘设有第一槽,具有可打开的第一门;托盘的一端向上延伸形成托盘壁;沿托盘轴至托盘壁设有分隔储仓的空间分离器;空间分离器与托盘的轴旋转连接,并可绕托盘轴旋转。值得一提的是,储物箱的尺寸和放置在储物箱中的物品的数量可调节,并且通过可打开的第一门输出物品,可提高储物箱中物品的输出效率。
控制移动机器人的方法和装置
这是一项主要针对移动机器人的技术,可通过移动机器人的感知信息,生成对行人的评估信息,比如附近行人的意图信息以及行人事件的类型等,之后根据感知信息和评估信息可生成行人行为信息,其中,行人行为信息包括预设的某个未来时间段内附近行人的预测位置信息序列和预测行为类型序列;然后根据感知信息生成用于控制的信息,对移动机器人进行控制。这项专利在一定程度上或将改善移动机器人的社会接受度。
技术应用场景,企业瞄准了仓库自动化
如我们上述所提到的沃尔玛、亚马逊以及京东的各项专利技术,除用于解决最后一英里的配送问题外,部分专利特别是机器人相关的技术在一定程度上可用于提高效率,而效率一直是零售商迫切希望实现仓库自动化的推动力之一。所以,从京东到沃尔玛再到亚马逊,不少零售商都将目光转向了仓库自动化(Warehouese Automation)。
沃尔玛推出Alphabot系统,每小时拣货800多种
2020 年 1 月,沃尔玛推出了名为 Alphabot 的机器人系统,以提高配送效率,解决其线上业务面临的最大难题之一。这一系统由沃尔玛与总部位于马萨诸塞州的初创公司 Alert Innovation 合作开发。
Alphabot 机器人系统目前在一个占地 2 万平方英尺的仓库内运作着,通过自动移动推车,从高密度的货物存储系统中检索并收集冷藏、冷冻等货物后,再将货物运送至商店内的工作站,由工作人员检查后打包并发送订单。
图 | Alphabot 系统(来源:Alert Innovaion YouTube)
据悉,通过人工与该系统的配合,每小时可完成 800 多种货物的挑选,相比之下,Alert Innovation 的数据显示,人工每小时可以从商店的货架上挑选出的产品种类数量为 80,也就是说,机器的挑选效率是人工的 10 倍。
虽然 Alphabot 在一定程度上是一个混合系统,即需要人工和机器共同完成工作的系统,但其最终是以完全由机器完成操作作为未来发展方向的。对此,沃尔玛自动化与数字运营高级经理 Brian Rother 表示,“这对沃尔玛的供应链将产生变革性的影响。Alphabot 简化了订单流程,实现了更快捷、更高效的订单挑选。"
亚马逊用机器人完成订单装箱,每台机器人或淘汰24名员工
2019 年 5 月,有媒体报道称亚马逊正在研究用机器人扫描传送带上的货物,之后将其放到定制的盒子里。其实,亚马逊一直在尝试将更多的新技术应用于货运仓库中,但是这两项新的用来代替人工的机器人技术的不同之处在于:每台机器至少可以淘汰 24 名员工,平均算下来,亚马逊 55 个物流中心或将减少 1300 多个工作岗位。
此前,包括扫描、分拣以及装箱等工作一直是无法实现自动化的环节,这是亚马逊该计划的首次曝光。值得注意的是,这些计划还没有付诸行动,因为在大规模部署之前还需要进行不断的验证。
图 | 亚马逊全球运营资深副总裁 Dave Clark 的 Twitter (来源:Twitter)
据了解,这种新机器来自意大利 CMC Srl 公司,被称为 CartonWrap。有消息人士表示,该机器人的打包速度比人类快得多,每小时可完成 600 - 700 箱订单,是人工效率的 4 - 5 倍。不过,与沃尔玛的机器人一样,这些机器人也需要人工的帮助,如查看订单,存储纸板和胶水以及修复可能出现的卡纸情况。
除此以外,亚马逊还宣布利用另一款机器人 SmartPac 邮寄物品。借助这款机器人,亚马逊将可以使其大部分人工包装自动化。
虽然在订单装箱方面朝着自动化迈进了一步,但亚马逊仍认为这项技术尚未准备就绪,因为依然需要人工将货物放到传送带上。除此以外,机器人在工作时还需要有技术人员在场,以便及时处理出现的故障。这都是亟待解决的问题。
京东推出世界首个无人仓库,或成未来典范
比起亚马逊被曝光使用机器人装拣货物的时间,京东来的更早一些,甚至自动化的流程也更全面一些。2017 年 10 月,中国电商无一不在备战着一年一度最大的购物节——“双 11”购物节,而就在这时候京东提前向人们展示了自己的秘密武器:位于上海嘉定区的全球首个全流程无人仓,从入库、存储,到包装、分拣,可实现全程自动化。


2020-03-22 18:24:47