近日据悉,宝马最新的专利申请显示,宝马似乎正在为自动驾驶车辆研发一款折叠式方向盘,这将颠覆我们对方向盘的认知。
宝马折叠方向盘新专利曝光 开车手握“橄榄球”
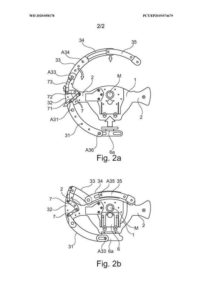
从专利图中可以看出,这款方向盘设计颇为紧凑,一旦车辆接管操控后,可为主驾驶提供更多的膝部空间。
这款革命性的设计通过改变驾驶员手中方向盘的形状,从而提醒驾驶员车速过快,而非使用语音警示或音频通知。
早在2017年,斯坦福大学的研究人员对可改变形状机械方向盘进行了台架测试。测试结果表明,在紧急情况下要让司机重新控制自动驾驶汽车时,对于司机的反应时间来说,机械改变形状的方向盘比起使用闪烁LED灯警告的方向盘更快一些。
斯坦福大学研究得出结论:“司机对机械方向盘的体验表现明显好于LED方向盘。也就是说,利用机械动作发出的警报要比单纯的视觉警报更为有效。”
目前,宝马对这款秘密方向盘的动向守口如瓶,也未透露是否计划在量产车中引入该款方向盘。可以肯定的是,这款方向盘至少展示了宝马对自动驾驶汽车发展的横向思考。

2020-03-31 19:05:32