近日,美国专利商标局(U.S. Patent and Trademark Office)授予了苹果公司69项专利,其中一项是关于“泰坦计划”(Project Titan)的车用太阳能。对于新能源车主而言,充电是日常难题,除了换电和无线充电的方法,苹果公司认为还可以用光伏电池,即太阳能电池来解决。
苹果公司拟将光伏电池与汽车表面相结合,即将太阳能电池涂层“涂满”整个车身,甚至可以将该涂层覆盖到汽车玻璃上。车辆内部的座椅、仪表板及其他部位也有可能使用太阳能电池板。
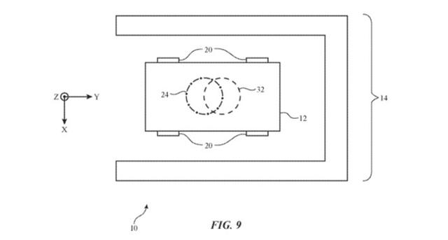
车用太阳能说明车辆侧视图 来源:Patently Apple
目前已有车顶搭载太阳能电池板提供额外电力的汽车,如全新现代索纳塔混动版。不过对于汽车而言,受光照面积有效,如果没有高转化率用处不大。而且太阳能板大多是晶体硅材料制作,硬度高但韧性差,不适合做车身材料。
但苹果公司打算改变其特质,据专利文件显示,苹果公司拟研发具有柔性基板的薄膜太阳能电池,厚度控制在1-10微米,目前柔性基板的材料考虑用织物、皮革、聚合物等软材料制作。苹果认为,耳机、外壳、盖子、内饰等其他柔性材料或具有若软表面的物品,都可以作为薄膜太阳能的柔性基板。
苹果的泰坦计划已成为最神秘的造车计划。早在2014年,苹果便以重资产模式入局造车,推出“泰坦计划” ,计划复刻iPhone的成功,从零开始打造一款颠覆汽车行业的产品,并为此频繁挖角电动车领域技术工程师。
苹果“泰坦计划” 来源: Apple
因缺乏整车制造相关经验,该计划一度搁浅,至2016年才重新开启,并将发展路线由整车制造改为自动驾驶技术研究。因项目的保密性质及去年年初泰坦计划裁员190人的消息,有人认为苹果造车计划已搁浅。
但在短短一年时间里,苹果在汽车领域的专利已涵盖汽车硬件、车载系统、自动驾驶以及电力系统等方面,可以看出,苹果的汽车野心并没有止步。
从专利还原苹果造车全貌
没人体验过苹果的Dream Car,但从苹果的60项左右的相关专利中,或许可以设想一下。
通过iPhone手机上的Apple CarKey,即使手机没电了也能开启自家车的车门。智能门铰链让你避免了开车门时刮蹭到旁边车辆的尴尬,系上安全带后上面的生物识别技术能识别你此刻是否酒驾,或者是否需要加热。
苹果的安全带专利 来源: Apple
不想让别人看到车内情况,你可以使用车窗控制系统,上面的光调制器层能帮你保护隐私,苹果的“交流调制波形”还可以调控车内外照明状况,保护驾驶员视力。后视镜画面投射到侧窗玻璃或抬头显示HUD当中,通过iPhone或AR眼镜即可获得AR地图。此外,乘坐汽车的人也能因VR系统增加乘坐舒适感——VR体验可以使乘客感觉到乘坐的车辆尺寸比真实车辆的实际尺寸大,真实环境的虚拟视图还能减少乘客对窗户的需求。
为防乘客晕车设计的虚拟地面 来源: Apple
新能源汽车在长途旅行中也不必担心充电问题,太阳能车身随时补充电量。回家使用自动驾驶导航系统自主泊车,停至苹果的无线充电停车场后,车位将自动对汽车进行充电。
虽然暂时没有具体的产品推出,但能看出苹果对汽车的“黑科技”创新并不输特斯拉。不仅如此,从专利来看,苹果一直在不断迭代更新技术,包括自动驾驶、电力系统、车载系统以及车体结构等方面。
就电力系统而言,在2018年10月苹果曾推出一款新的电池系统,为保障电动汽车或混动车的空调、GPS及车载娱乐系统能有充足的电力。根据苹果的说法,车辆通常由高压电池供电,但车内设备通常以较低电压运行,所以常规转换器容易导致低压电池的损坏。因此苹果推出了新电池系统。
不过在之后电动车逐渐普及后这一问题已普遍得到解决。2019年7月,苹果公布了一项用于为自动驾驶汽车提供无线充电服务的专利。该技术将实现泊车即充电,无线电力将从位于停车区域的无线充电发射器,传输到安装在汽车上的无线充电接收器,完成无线充电过程,与手机无线充电类似。此外,安装在车机上的传感器将记录充电桩发射器的排列方式和充电效率等数据,优化后续泊车方位。
苹果公司的电动汽车无线充电专利图 来源:Apple
虽然无线充电停车场的构想仍停留在实验室中,但是苹果已经为未来找不到无线充电停车场的人想好了解决方案,研发出了车用太阳能的技术,以便让整个汽车化被动充电为主动充电,自身成为电能吸收器。
或许苹果专利不断,却迟迟未推出相关产品是想如当年推出iPhone一样,一次性推出一款足以颠覆整个行业的产品。但汽车与手机的下线要求不同,没有反复多次的真实路测,一切仍只是纸上谈兵。
2023年就能看到苹果的车?
“自动驾驶和自动驾驶汽车不会实现”,苹果联合创始人沃兹在去年10月份的拉斯维加斯JD Power汽车革命会议上表示,他曾相信,苹果公司能够做出真正的无人驾驶汽车并进行销售。但在几年前,他放弃了这种想法。
“有很多技术可以帮助我们更安全的驾驶汽车,但是至少需要最笨的人来操控方向盘。”虽然沃兹的发言透露出,苹果的造车路线已由无人驾驶技术研究转向驾驶辅助技术研究。但从近期的专利来看,苹果泰坦计划并未放弃对无人驾驶技术的研究,只是增加了更多增强车辆及驾驶员感知能力的技术。
比如自动驾驶汽车的新型“主动悬架”系统,该系统可以允许驾驶员选择期望的车辆高度,磁流变阻尼器提供的阻尼特性也可能会根据检测到的条件(例如车辆加速度)而主动变化。
车辆功能系统示意图 来源: Apple
苹果的自动驾驶导航系统(ANS),是用户可以通过苹果汽车系统CarPlay预设目的地,一键启动后,汽车自动将用户带往目的地。还有可捕获高精度4D信息的道路摩擦系数估算系统,包括双接收阵列的雷达系统,均为自动驾驶的单车感知技术。
苹果供应链分析师郭明錤接受车云的采访时曾表示,苹果是想重走iPhone的成功路,即先做好“软件”,再攻克“硬件”,最后形成“服务”,可能会在2023-2025年间正式推出苹果汽车。
这个推测并不是没有依据。自2015年初以来,苹果一直在招聘汽车相关领域的员工,如电池技术和自动驾驶系统方面的研究人员。据外媒报道,苹果内部有至少20名前黑莓员工进行车载软件开发,2019年7月还聘请了擅长汽车内外饰领域的特斯拉前高管史蒂夫·麦克马纳斯(Steve MacManus)。
虽然苹果在2019年初裁撤了200名自动驾驶团队员工,并将许多员工转移至其他“关键”项目中,但据外媒报道内部员工对此并不感到意外,并表示这是预期内的架构重组。
关于苹果自动驾驶最近的消息是,2019年10月,据外媒DigiTimes援引消息人士信息,台湾制造商广达电脑公司目前正在为苹果提供未指定的“自动驾驶解决方案”,广达还是谷歌汽车的供应商之一。
从2016年至今,我们仍猜不透苹果汽车最终形态,这个集所有黑科技于一身的终极产物究竟是颠覆时代的弄潮儿还是经看不经用的科技展示品我们不得而知,不过苹果公司带给汽车行业的创新思路,足以加快汽车行业智能化的转型升级。

2020-03-31 19:26:32