未来的 MacBook 或 MacBook Pro 机型可能会采用一体成型的设计,配备无缝可弯曲的铰链机构,让苹果可以用一块材料打造出它们。它可能会像普通的MacBook Pro一样打开,但这种潜在的未来设计将包括一个可弯曲的铰链。
继苹果为iPhone和iPad申请了许多可弯曲,甚至是可滚动的屏幕专利之后,该公司还在研究MacBookPro如何从能够弯曲的屏幕中受益。与目前连接屏幕与机身的复杂铰链机构不同,苹果正在研究一种更灵活的设备,而不是目前复杂的铰链机构。
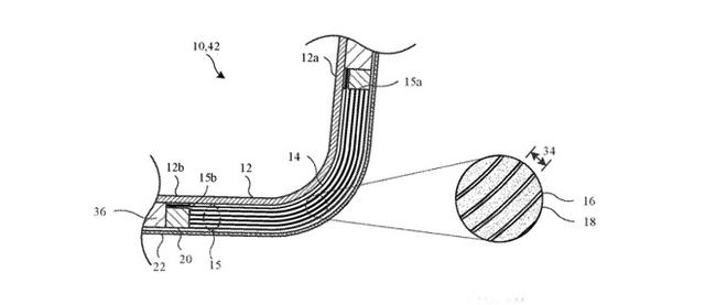
美国专利号10,642,318,名为"平面铰链组件"的苹果专利,主要描述了这样的设计如何适用于MacBook Pro风格的设备。专利表示,一种个人计算设备包括具有无缝整体外观的单片机身,该单片机身包括可弯曲的部分,该部分能够具有平滑的弯曲形状。该单片机身的第一部分包括能够呈现视觉内容的显示装置,以及能够承载输入动作和输入装置的第二部分。
苹果这个专利想法是,MacBook Pro,或者其他设备,可以在一个平面上制作,而这个单片机身有一个 可弯曲的部分,可弯曲的部分仍然要容纳目前连接屏幕和键盘的电子元件,它必须保持机械通信能力,苹果的解决方案是让 可弯曲结构 由 可以从非压缩状态过渡到压缩状态的层层叠加而成。
这专利苹果之前的一个设备计划类似,该设备不是普通的屏幕和键盘,而是呈现两个屏幕,其中一个能够显示,另外一个可以模拟输入设备。现在,苹果在专利当中还提出,这样的 可调节弯曲结构还可以包括一个可弯曲的电池。


2020-05-06 15:18:12