微软对可穿戴设备的研发停滞了四年之久,在2016年停止了对Mircosoft Band的支持,但这并不意味着微软放弃了可穿戴设备领域的探索。近日,微软一项新专利被公示,该技术可以有效解决当前可穿戴设备测量血压的难点。除此之外,微软还申请了其他与可穿戴相关的技术专利,这也为微软未来回归市场做准备。
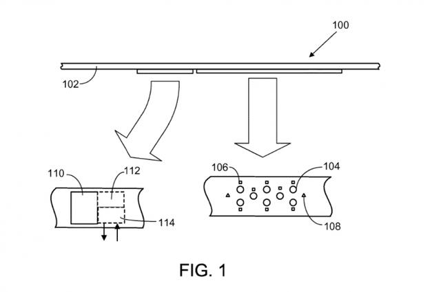
该专利全称为“可穿戴式脉压波发送设备”,在设备背面特定区域装有压力传感器,戴在手腕上大致位于动脉附近。该专利的亮点在于,该设备会提醒用户佩戴的最佳位置,从而获得最准确的读数。理想情况下,微软的动脉监测系统将减少假阳性读数,并每天以最准确的读数告知用户。根据报告,微软为其新专利留下了足够的显示空间,在必要时可以设计成智能手表。
早前微软发布的Band 2 包含了光学心率监测、电击式皮肤反应传感器、皮肤温度传感器、电容式传感器以及睡眠追踪软件等功能,但并不支持测量血压。该功能也是为了高血压患者更好地了解自身的健康状况而设计。

2020-07-13 15:09:02