周二,美国专利商标局授予苹果一项新专利,名为“跨传感器处理管道共享传感器数据”。在这项专利中,苹果提出在自动驾驶汽车系统内的多个过程中,可以对收集到的数据进行更多的协作。
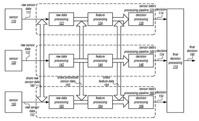
通常情况下,传感器收集数据后提供给针对处理系统的通道只限一条,届时再由该系统判断情况并反馈相应的行动方案。这之中,因为通道只有一条,所以过程中不会受到其他系统的影响。然而在苹果的专利中,他们提出基于多个传感器数据的融合,做出融合感知决策。
更具体来看,苹果认为这些可以数据可以更加细化,在每个管道的不同阶段做出决策,并融合在一起。这些数据覆盖原始的传感器数据、经过处理的传感器数据,以及由传感器数据衍生的数据等等,它们将可以在管道之间实现共享,并影响其他流程。
如此一来,基于更多的数据点,控制系统在创建行动方案时便可以有更多的可用信息,继而做出更为全面的判断、明智的决策。譬如激光雷达可以确定距离和深度,而图像传感器则可以获取颜色数据,继而做到对障碍物的进一步精准识别。
虽然关于苹果自动驾驶汽车项目的动态消息少之又少,让人怀疑这个项目的存活与否,但事实上,苹果一直没有停下对这一产品和市场的投入。据悉,目前苹果已经持有55辆无人驾驶车辆的驾驶许可证,而在去年,他们拥有的驾驶证数量还只是3个。
专利方面,消息称苹果每周都会提交大量的专利申请,虽然申请专利并不一定意味着会落实到现实产品中,但也的确显现了苹果对于自动驾驶产业的不放弃。

2020-07-13 15:34:53